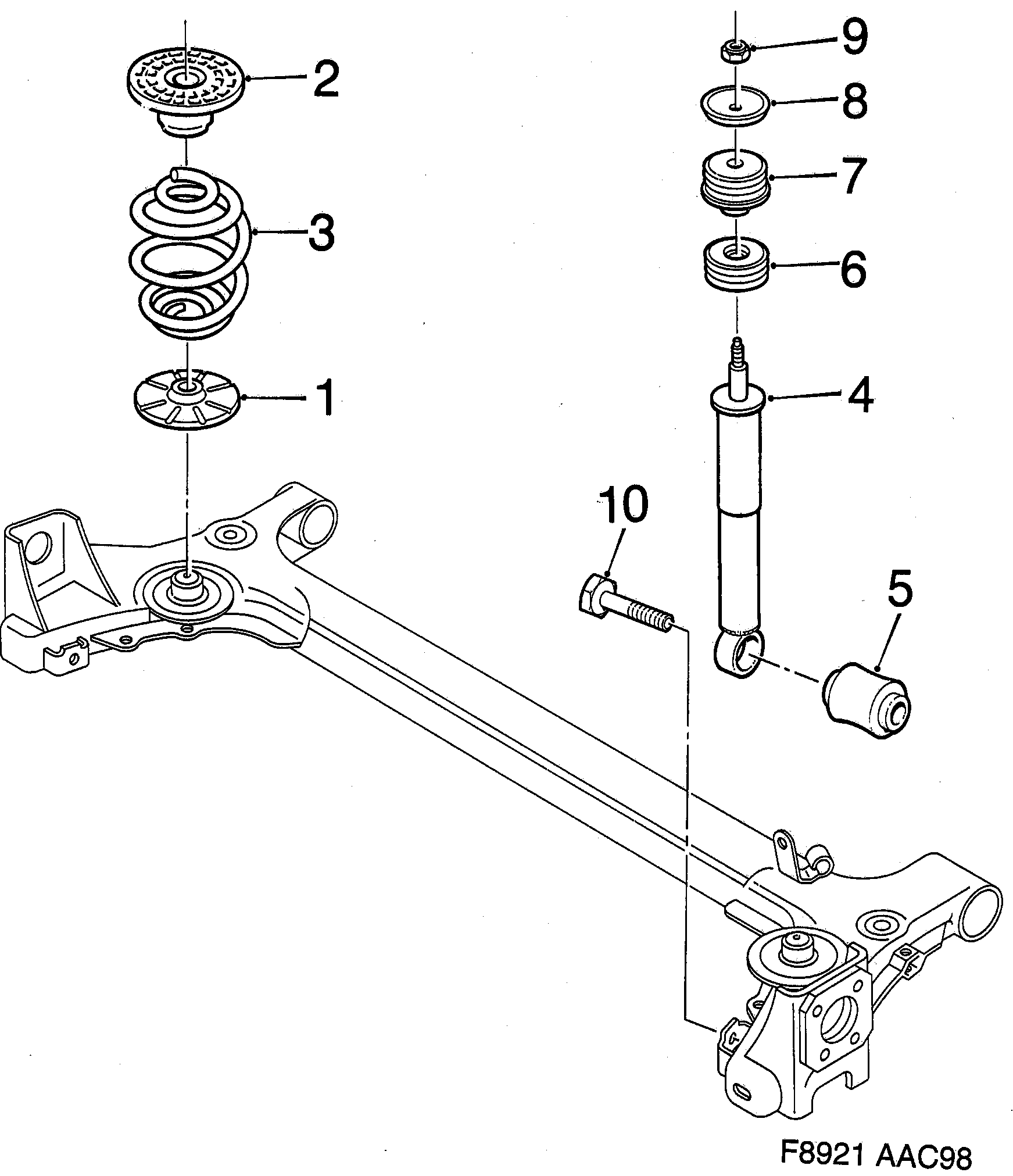
160: Система подвески - Задняя подвеска
(1998 - 2003) | Для 9-3 (9400) (2002)

| Поз. | Номер | Кол-во | |
|---|---|---|---|
| 1 | 4245122 Кронштейн пружины | 2 | |
| 2 | 4244505 Стопор пробойника | 2 | |
| 2 | 5080924 Стопор пробойника 2001-2003 | Для автомобилей с дисками 16'' | LH | 1 | |
| 2 | 5080932 Стопор пробойника 2001-2003 | Для автомобилей с дисками 16'' | RH | 1 | |
| 2 | 5080924 Стопор пробойника 1999-2003 | Для автомобилей с дисками 17'' | LH | 1 | |
| 2 | 5080932 Стопор пробойника 1999-2003 | Для автомобилей с дисками 17'' | RH | 1 | |
| 3 | 4647509 Пружина белый | CODE=BE | 2 | |
| 3 | 4647517 Пружина оранжевый/белый | CODE=BF | 2 | |
| 3 | 4543021 Пружина оранжевый | CODE=BG | 2 | |
| 3 | 5084595 Пружина 1999-2002 | зелено-белый | CODE=BT | 2 | |
| 3 | 5084603 Пружина 1999-2002 | зеленый/зеленый | CODE=BU | 2 | |
| 3 | 5084611 Пружина 1999-2002 | синий/синий | CODE=BV | 2 | |
| 4 | 5056668 4906475 Амортизатор красный | CODE=U | 2 | |
| 4 | 4906475 Амортизатор желтый | CODE=S | 2 | |
| 4 | 4906491 4906475 Амортизатор синий | CODE=W | 2 | |
| 4 | 4906517 4906475 Амортизатор белый | CODE=T | 2 | |
| 4 | 5056866 4906475 Амортизатор зеленый | CODE=X | 2 | |
| 4 | 5023940 Амортизатор 1999-2002 | оранжевый | CODE=Z | 2 | |
| 4 | 5024385 4906475 Амортизатор 1999-2002 | серый | CODE=8 | 2 | |
| 5 | 4373874 Втулка, вкладыш | 1 | |
| 6 | 5059530 Втулка, вкладыш 1999-2003 | 2 | |
| 7 | 5059548 Втулка, вкладыш 1999-2003 | 2 | |
| 8 | 8959934 Шайба | 2 | |
| 9 | 8151474 92153199 Гайка замка | 2 | |
| 10 | 4685228 Шестигранный винт | 2 |