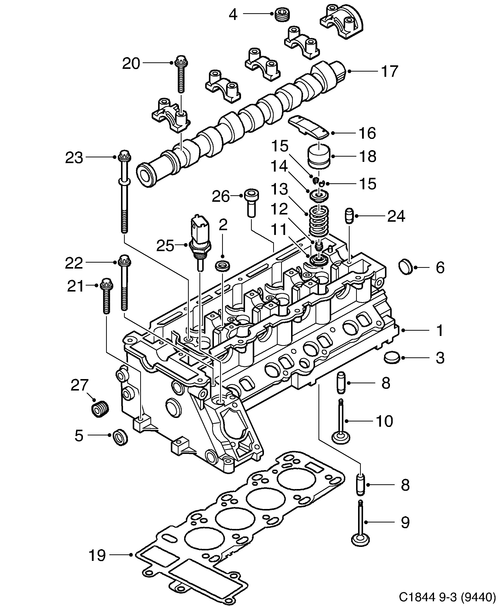
250: Двигатель - Корпус двигателя - Головка блока цилиндров
(2003 - 2004 | D223L) | Для 9-3 (9440) (2003)

| Поз. | Номер | Кол-во | |
|---|---|---|---|
| 1 | 55353380 Головка блока цилиндров | 1 | |
| 2 | 90529032 Уплотнительная шайба | 2 | |
| 3 | 11071923 Уплотнительная шайба | 6 | |
| 4 | 11056321 Винтовая пробка | 4 | |
| 5 | 90502542 Уплотнительная шайба | 2 | |
| 6 | 11094191 Уплотнительная шайба | 6 | |
| 8 | 90572642 Клапанное распределение STD | 16 | |
| 8 | 90528683 Клапанное распределение OD 1 | 16 | |
| 8 | 90528685 Клапанное распределение OD 2 | 16 | |
| 9 | 90502319 Впускной клапан STD | 8 | |
| 9 | 90502321 Впускной клапан 0,075 | 8 | |
| 9 | 90502322 Впускной клапан 0,15 | 8 | |
| 10 | 90502326 12992480 Выпускной клапан STD | 8 | |
| 10 | 90502327 Выпускной клапан 0,075 | 8 | |
| 10 | 90502328 Выпускной клапан 0,15 | 8 | |
| 11 | 90410740 Пружинная шайба | 16 | |
| 12 | 90410741 Уплотнение | 16 | |
| 13 | 90500731 Пружина клапана | 16 | |
| 14 | 90354649 Тарелка пружины клапана | 16 | |
| 15 | 90354648 Конус клапана | 32 | |
| 16 | 90502753 Мостик распредвала | 8 | |
| 17 | 9120253 Распредвал | 1 | |
| 18 | 9117905 Толкатель клапана | 16 | |
| 19 | 90540459 93179232 Прокладка 2003-2003 | T=1,2 MM. IDENT NONE | 1 | |
| 19 | 90540460 93179232 Прокладка T=1,3 MM. IDENT 1 GROOVES | 1 | |
| 19 | 90540461 93179233 Прокладка 2003-2003 | T=1,4 MM. IDENT 2 GROOVES | 1 | |
| 19 | 93189314 Прокладка головки блока цилиндров T=1,5 MM. IDENT 3 GROOVES | 1 | |
| 20 | 11093792 Винт | 10 | |
| 21 | 11097441 Винт | 3 | |
| 22 | 11096621 Винт | 1 | |
| 23 | 90502072 Винт | 10 | |
| 24 | 90281475 Натяжной штифт | 2 | |
| 25 | 90570185 90542063 Датчик температуры | 1 | |
| 25 | 90570185 90542063 Датчик температуры | 1 | |
| 26 | 11095821 Винт | 5 | |
| 27 | 11095512 Винтовая пробка | 5 |