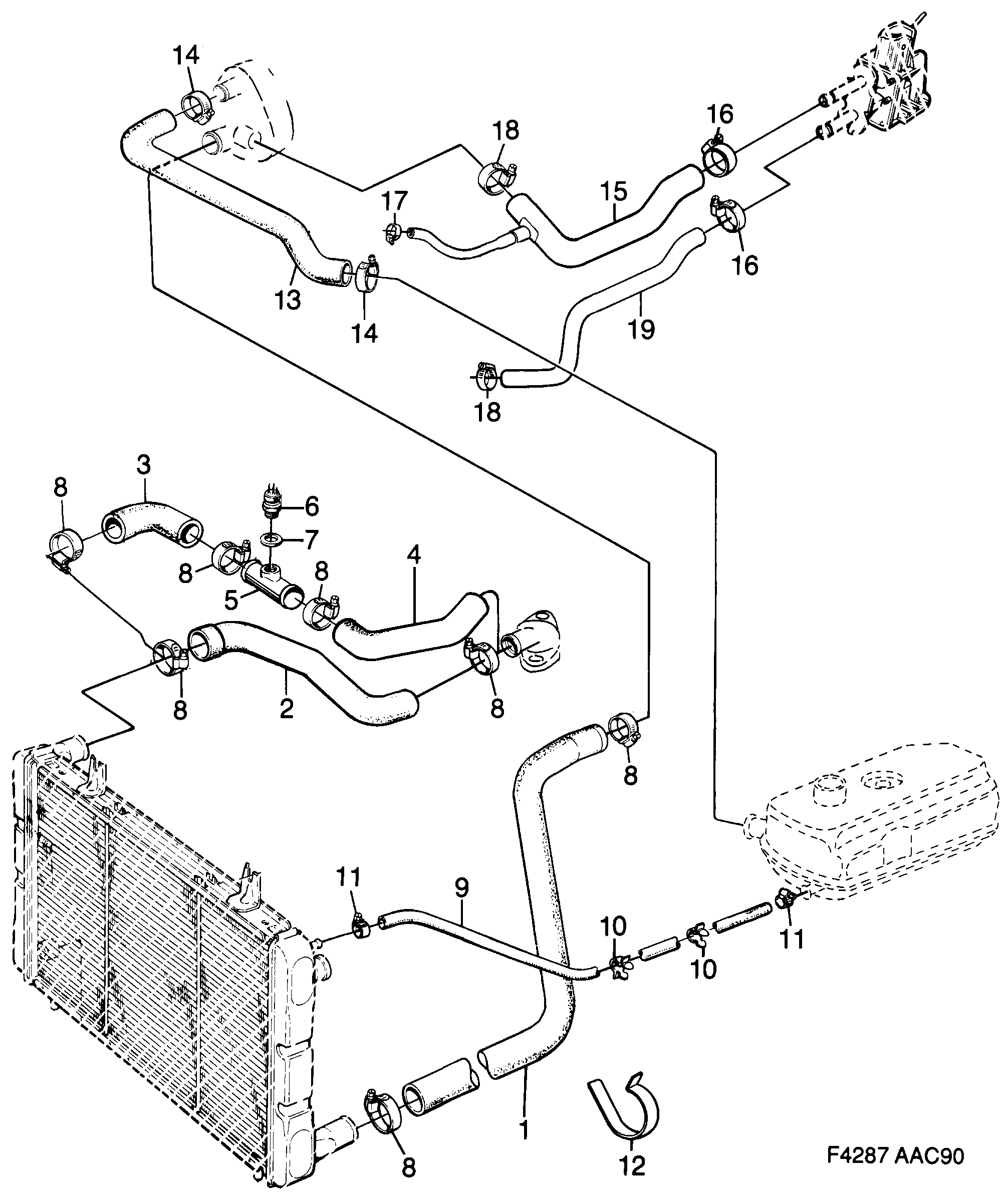
1760: Moteur - Système de refroidissement - Durites, etc
(1990 - 1993)
Concerne aussi CV 1994

| Pos. | Réf. | Qté | |
|---|---|---|---|
| 1 | 9364795 Flexible | 1 | |
| 2 | 7540420 Flexible | 1 | |
| 3 | 9332818 Flexible Usage: AC | 1 | |
| 4 | 7543259 Flexible Usage: AC | 1 | |
| 5 | 9332826 Tuyau coude Usage: AC | 1 | |
| 6 | 9552878 4086724 Contact Usage: AC | 1 | |
| 6 | 9526534 4086716 Thermocontact Usage: AC | 1 | |
| 7 | 8330268 Joint Usage: AC | 1 | |
| 8 | 7970106 Collier serrage | 7 | |
| 9 | 4029153 Flexible | 1 | |
| 10 | 8536419 11900515 Clip | 2 | |
| 11 | 7970031 Collier serrage | 2 | |
| 12 | 9344524 Support | 1 | |
| 13 | 9349382 Flexible | 1 | |
| 14 | 7970098 Collier serrage | 2 | |
| 15 | 9324609 Flexible Usage: C | Pour les voitures avec soupape de dérivation, voir ST No. 854-043. | 1 | |
| 15 | 7520174 Flexible Usage: I | Avec catalyseur. Pour les voitures avec soupape de dérivation, voir ST No. 854-043. | 1 | |
| 15 | 7513435 Flexible Usage: I | Pour les voitures avec soupape de dérivation, voir ST No. 854-043. | 1 | |
| 16 | 7963556 7970098 Collier serrage | 2 | |
| 17 | 7970056 90572589 Collier serrage | 1 | |
| 18 | 7963549 7970080 Collier serrage | 2 | |
| 19 | 9324658 Flexible Usage: C | Pour les voitures avec soupape de dérivation, voir ST No. 854-043. | 1 | |
| 19 | 9324666 Flexible Usage: I | Pour les voitures avec soupape de dérivation, voir ST No. 854-043. | 1 |