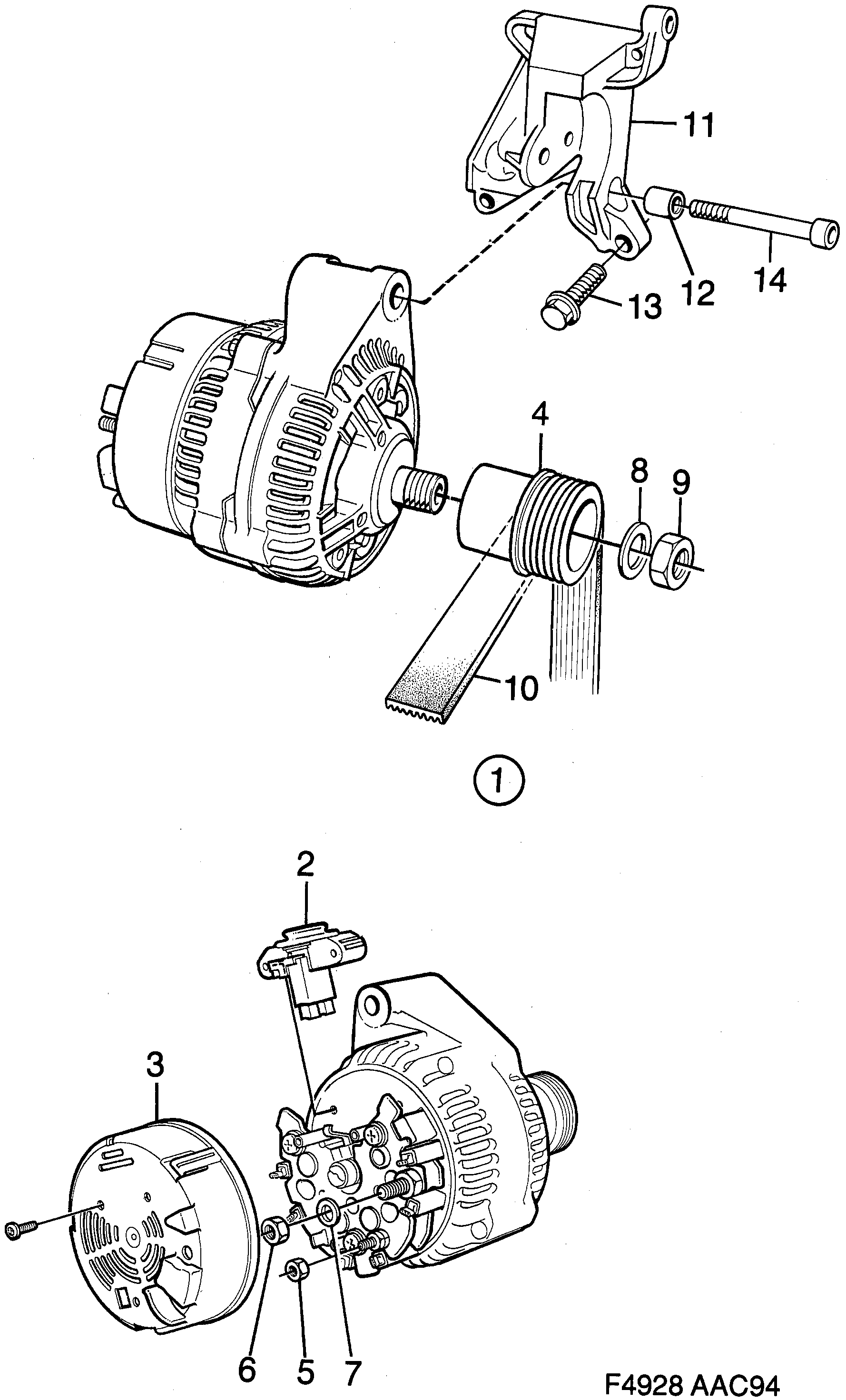
180: Système électrique, généralités - Alternateur - Bosch 90A
(1994 - 1998)

| Pos. | Réf. | Qté | |
|---|---|---|---|
| 1 | 4221826 5601307 Alternateur Usage: -1995 | Egalement disponible en unité de rechange. | 1 | |
| 1 | 4734018 5601307 Alternateur Usage: 1995- | Egalement disponible en unité de rechange. | 1 | |
| 2 | 4409983 5246863 Régulateur tension Usage: -1995 | 1 | |
| 2 | 4737151 5246863 Régulateur tension Usage: 1995- | 1 | |
| 3 | 4409991 Protection | 1 | |
| 4 | 4410007 12770125 Poulie | 1 | |
| 5 | 7977911 32026207 Ecrou | 1 | |
| 6 | 7977952 11900452 Ecrou hexagonal | 1 | |
| 7 | 7311764 Rondelle | 1 | |
| 8 | 4489316 Rondelle | 1 | |
| 9 | 4489308 Ecrou | 1 | |
| 10 | Courroie | ||
| 11 | 4356093 5171376 Console | 1 | |
| 12 | 7593080 Bague | 1 | |
| 13 | 7978216 11900367 Vis à tête hexagonale | 4 | |
| 14 | 8098378 Vis | 4 |