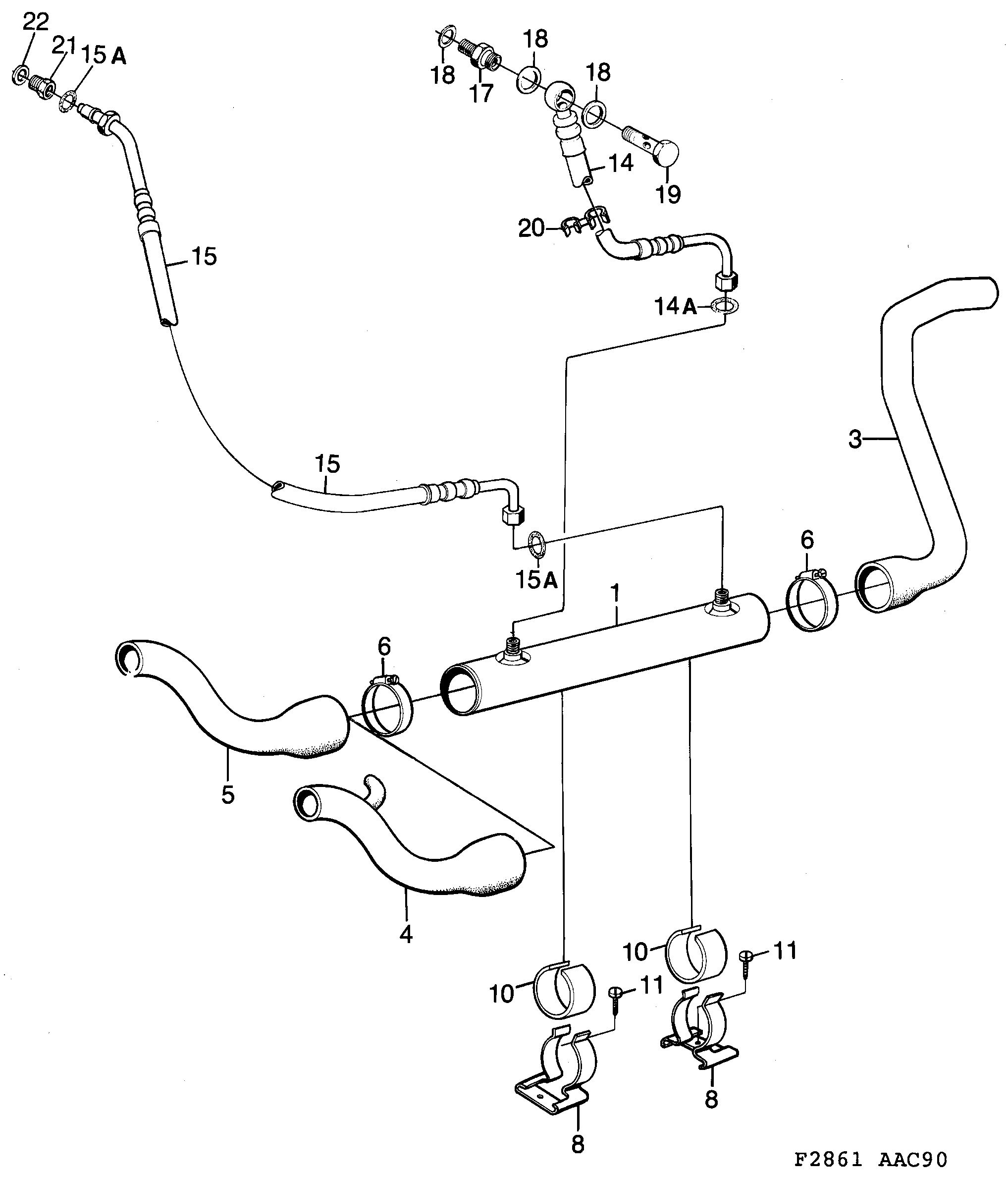
1850: Moteur - Système de refroidissement - Refroidisseur d'huile à eau - Boîte de vitesses automatique
(1990 - 1993)
Concerne aussi CV 1994

| Pos. | Réf. | Qté | |
|---|---|---|---|
| 1 | 7547730 Radiateur huile | 1 | |
| 3 | 9363615 Flexible | 1 | |
| 4 | 7548829 4121802 Flexible Usage: -1990 | TURBO | 1 | |
| 4 | 4121802 Flexible Usage: 1990- | TURBO | 1 | |
| 5 | 7548811 Flexible Usage: -1990 | I | 1 | |
| 5 | 4121810 Flexible Usage: 1990- | I | 1 | |
| 6 | 7970130 92153077 Collier serrage | 2 | |
| 8 | 7540917 Support | 2 | |
| 10 | 9301383 Valve | 2 | |
| 11 | 7922891 Vis | 2 | |
| 14 | 7547813 Flexible hydraulique | 1 | |
| 14A | 7977580 Joint torique | 2 | |
| 15 | 7547805 Flexible hydraulique | 1 | |
| 15A | 7977580 Joint torique | 1 | |
| 17 | 7540032 Raccord | 1 | |
| 18 | 8981961 4161162 Joint | 3 | |
| 19 | 9301532 12773569 Vis banjo | 1 | |
| 20 | 7559768 92152223 Clip | 1 | |
| 21 | 7546971 Raccord | 1 | |
| 22 | 7599426 Joint | 1 |