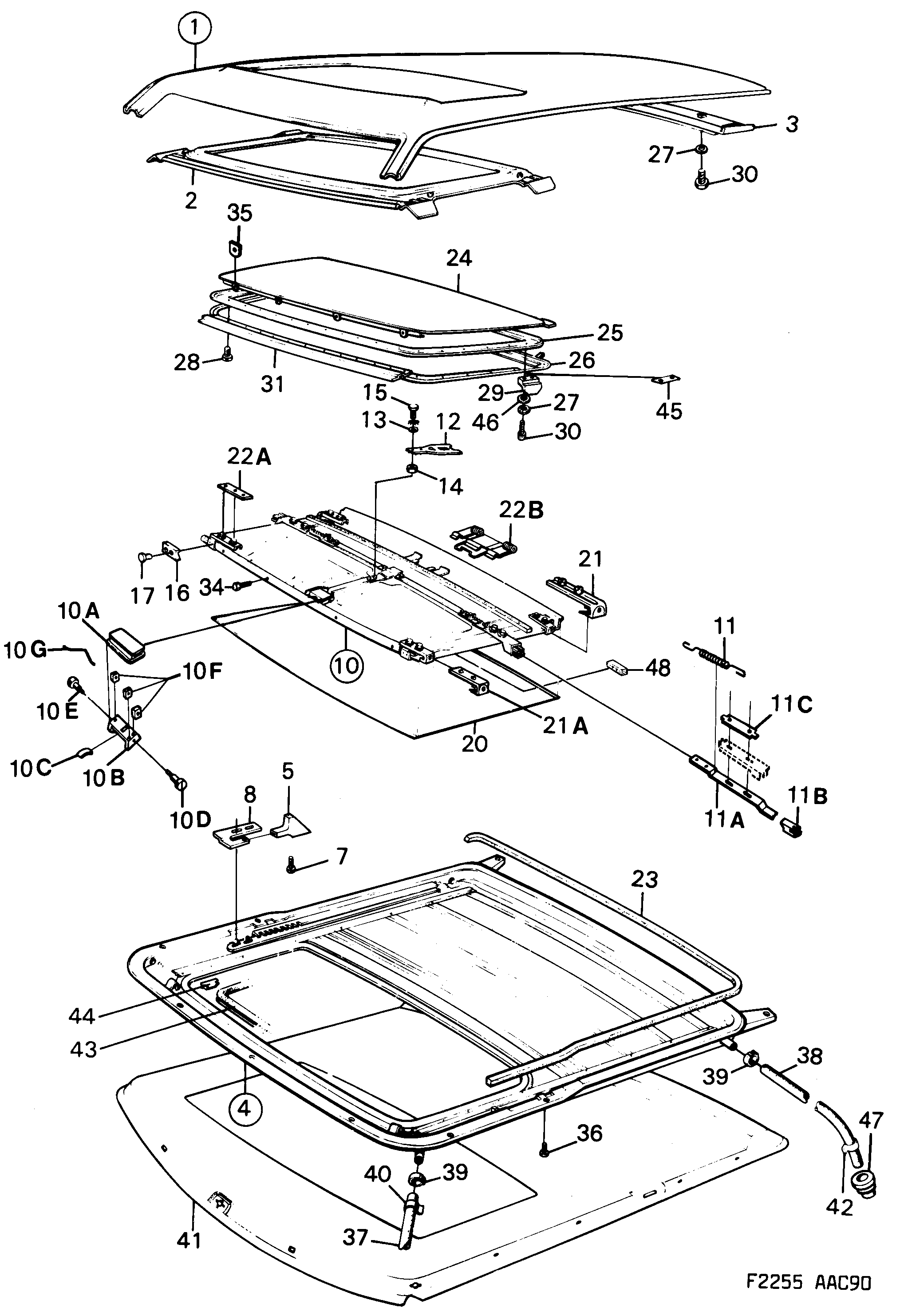
200: Carrosserie, extérieur - Corps de carrosserie - Toit ouvrant - Manuel
(1990 - 1993)

| Pos. | Réf. | Qté | |
|---|---|---|---|
| 1 | 8274433 Tôle | 1 | |
| 2 | 8283590 Cadre | 1 | |
| 3 | 8283608 Arceau | 1 | |
| 4 | 6917223 Châssis | 1 | |
| 5 | 9293010 Talon guidage | 2 | |
| 7 | 8249633 Vis | 2 | |
| 8 | 8248270 Ressort Usage: LH | 1 | |
| 8 | 8248288 Ressort Usage: RH | 1 | |
| 10 | 6975064 Panneau | 1 | |
| 10A | 6917322 Capot | 1 | |
| 10B | 6917330 Poignée | 1 | |
| 10C | 8248502 Ressort | 1 | |
| 10D | 8248601 Vis Usage: Avant. | 2 | |
| 10E | 8248726 Vis Usage: Arrière. | 1 | |
| 10F | 8249757 Ecrou | 3 | |
| 10G | 8248494 Pince serrage | 2 | |
| 11 | 8248577 Ressort | 2 | |
| 11A | 8248775 Blocage | 2 | |
| 11B | 8248437 Talon guidage | 2 | |
| 11C | 8288599 Gâche | 2 | |
| 12 | 8248585 Bras verrouillage | 1 | |
| 13 | 8249724 Rondelle | 6 | |
| 14 | 8249682 Ecrou | 2 | |
| 15 | 8249740 Vis | 2 | |
| 16 | 6917306 Butée | 2 | |
| 17 | 8248593 Rivet | 4 | |
| 20 | 6975031 Garniture habitacle | 1 | |
| 21 | 6937452 Support Usage: Arrière. | 2 | |
| 21A | 6937429 Support Usage: Avant. | 2 | |
| 22A | 8286429 Rondelle | 2 | |
| 22B | 8288193 Ressort | 2 | |
| 23 | 8249526 Lisse étanchéité | 1 | |
| 24 | 9289471 Trappe | 1 | |
| 25 | 9289505 Lisse étanchéité | 1 | |
| 26 | 6917348 Support | 1 | |
| 27 | 7915549 Rondelle | 4 | |
| 28 | 7939804 Vis | 23 | |
| 29 | 8248619 Console | 2 | |
| 30 | 8059230 92151805 Vis | 4 | |
| 31 | 6917355 Support | 1 | |
| 34 | 7922289 7965684 Vis | 4 | |
| 35 | 9233537 Cale | 4 | |
| 36 | 7971757 7528953 Vis | 9 | |
| 37 | 9223736 Durit drainage Usage: 1990-1990 | Avant. | 2 | |
| 37 | 4098844 Durit drainage Usage: 1991-1993 | Avant. | 2 | |
| 38 | 9223744 Durit drainage Usage: Arrière. | 2 | |
| 38 | 9223751 Durit drainage Usage: Arrière. | 2 | |
| 38 | 9227554 Durit drainage Usage: Arrière. | 2 | |
| 39 | 7970056 90572589 Collier serrage | 4 | |
| 40 | 9228149 Clip | 2 | |
| 40 | 9228156 Clip | 2 | |
| 41 | Garniture de toit | 1 | |
| 42 | 8266843 Collier serrage | 2 | |
| 43 | 9836412 Lisse Usage: -1990 | 1 | |
| 43 | 9836412 Lisse Usage: 1990- | 1 | |
| 43 | 4057089 Lisse Usage: 1990- | 1 | |
| 44 | 9426420 Clip Usage: -1990 | 4 | |
| 45 | 8029936 32000431 Rondelle Usage: 1990-1992 | X | |
| 45 | 9166356 32000431 Rondelle Usage: 1993-1993 | X | |
| 46 | 8029936 32000431 Rondelle Usage: 1990-1992 | ALT. TO 8267932 | X | |
| 46 | 9166356 32000431 Rondelle Usage: 1993-1993 | X | |
| 47 | 9223991 Bague | 2 | |
| 48 | 6937759 Amortisseur | 2 |