280: Transmission - Boîte de vitesses 5 rapports - Carter de boîte de vitesses, collecteur d'huile
(1986 - 1989)

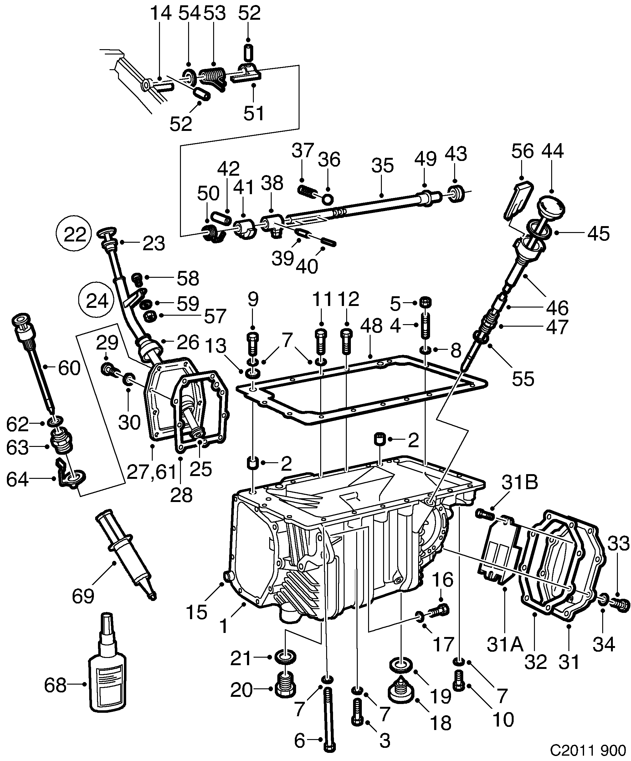
| Pos. | Réf. | Qté | |
|---|---|---|---|
Boîte de vitesses, manuelle | |||
| 1 | 8721300 Carter boîte vitesses Usage: 1986-1988 | 1 | |
| 1 | 8726309 Carter boîte vitesses Usage: 1989-1989 | Valable aussi pour SE 1988B. | 1 | |
| 2 | 8300725 Douille guide | 2 | |
| 3 | 8083958 8125213 Vis | 6 | |
| 4 | 9346388 Vis Usage: 1986-1986 | 1 | |
| 4 | 8005928 Goujon Usage: 1987-1989 | 1 | |
| 5 | 8074106 Ecrou Usage: 1986-1987 | 1 | |
| 5 | 8151235 Ecrou Usage: 1988-1989 | 1 | |
| 6 | 7965569 Vis | 1 | |
| 7 | 8029985 92153033 Rondelle | 14 | |
| 8 | 9328824 8981987 Joint | 1 | |
| 9 | 9346354 Vis | 1 | |
| 10 | 8082968 55562873 Vis | 1 | |
| 11 | 9346362 Vis | 5 | |
| 12 | 9346370 Vis | 1 | |
| 13 | 7061328 Rondelle | 1 | |
| 14 | 8049876 Goujon élastique Usage: PART OF 8722795 | 1 | |
| 15 | 8723967 12755009 Goujon guidage Usage: (8342594) | 1 | |
| 16 | 8082968 55562873 Vis | 1 | |
| 17 | 8029985 92153033 Rondelle | 1 | |
| 18 | 8717407 Bouchon vidange | 1 | |
| 19 | 8717415 Joint | 1 | |
| 20 | 8711871 8731762 Bouchon vidange | 1 | |
| 21 | 8718439 Joint | 1 | |
| 22 | 7544547 Jauge Usage: -1989 | B201C, I | Pour voitures avec collecteur d'échappement en tôle Pour voitures avec système EGR. | 1 | |
| 22 | 7544547 Jauge Usage: 1988-1989 | B201 | Pour I avec catalyseur. Pour voitures avec collecteur d'échappement en tôle | 1 | |
| 22 | 8334526 7546872 Jauge huile Usage: -1989 | B201C, I | Pour voitures sans système EGR. | 1 | |
| 22 | 7547201 Jauge huile Usage: -1989 | B202I | 1 | |
| 22 | 7546872 Jauge Usage: -1989 | TURBO | 1 | |
| 23 | 7971948 Joint torique | 1 | |
| 24 | 7544554 Tuyau Usage: -1987 | B201C, I | Pour voitures avec collecteur d'échappement en tôle Pour voitures avec système EGR. | 1 | |
| 24 | 7549231 Tuyau Usage: 1987-1989 | B201C, I | Pour voitures avec collecteur d'échappement en tôle Pour voitures avec système EGR. | 1 | |
| 24 | 7549231 Tuyau Usage: 1988-1989 | B201 | Pour I avec catalyseur. Pour voitures avec collecteur d'échappement en tôle | 1 | |
| 24 | 7542921 Tuyau Usage: -1989 | B201C, I | Pour voitures sans système EGR. | 1 | |
| 24 | 7542939 Tuyau Usage: 1986-1988 | B201I | 1 | |
| 24 | 9369661 Tuyau Usage: -1988 | B202I | 1 | |
| 24 | 7549504 Tuyau Usage: 1988-1989 | B202I | 1 | |
| 24 | 7542947 Tuyau Usage: -1989 | B201TURBO | 1 | |
| 24 | 9369521 Tuyau Usage: -1989 | B202TURBO | 1 | |
| 25 | 7971930 Joint torique Usage: -1989 | 1 | |
| 26 | 8334401 Coupe Usage: -1989 | 1 | |
| 26 | 7554363 Coupe Usage: -1989 | B202I | 1 | |
| 27 | 8715377 Couvercle Usage: -1989 | 1 | |
| 28 | 8715393 8728677 Joint Usage: -2002 | 1 | |
| 28 | 8725053 8728677 Joint Usage: 2009- | 1 | |
| 29 | 8082935 Vis Usage: -1989 | 9 | |
| 29 | 7970015 Vis Usage: 1989- | 9 | |
| 30 | 8029985 92153033 Rondelle Usage: -1989 | 9 | |
| 31 | 8723470 Couvercle Usage: -2010 | 1 | |
| 31 | 8727729 Couvercle Usage: 2011- | 1 | |
| 31A | 8727711 Filtre | 1 | |
| 31B | 8019945 Vis | 2 | |
| 32 | 8718785 8728651 Joint Usage: -2002 | 1 | |
| 32 | 8725038 Joint Usage: 2009- | 1 | |
| 33 | 8083933 Vis | 8 | |
| 34 | 8029985 92153033 Rondelle | 8 | |
| 35 | 8712192 Arbre Usage: GEAR BOX G4506,G45706 GM55600,GM55700 | 1 | |
| 35 | 8722803 Tige changement vitesse Usage: GEAR BOX GM45610,GM45710 GM55702,GM55602,GM45510 GM45612,GM45712,GM55704 GM55804 | 1 | |
| 36 | 8341257 Bille | 1 | |
| 37 | 8719775 Ressort | 1 | |
| 38 | 8343014 Flasque entraînement | 1 | |
| 39 | 8049553 Goujon élastique | 2 | |
| 40 | 7956154 Goujon élastique | 1 | |
| 41 | 8712945 Blocage | 1 | |
| 42 | 8712952 Goupille | 1 | |
| 43 | 8344335 8730764 Joint | 1 | |
| 44 | 9361650 Jauge | 1 | |
| 44 | 7514201 Jauge huile Usage: B202 | 1 | |
| 45 | 9361544 55557303 Bague de garniture | 1 | |
| 46 | 9368200 Rechargement d'huile | 1 | |
| 47 | 9361452 Raccord | 1 | |
| 48 | 7510241 Joint | 1 | |
8781841 93165267 Instajoint Usage: 280 ML | X | ||
| 49 | 8711608 Bague | 1 | |
| 50 | 8713166 Ressort | 1 | |
| 51 | 8722720 Flasque entraînement Usage: GEAR BOX GM45610,GM45710 GM55702,GM55602,GM45510 GM45612,GM45712,GM55704 GM55804 | 1 | |
| 52 | 8049553 Goujon élastique Usage: GEAR BOX GM45610,GM45710 GM55702,GM55602,GM45510 GM45612,GM45712,GM55704 GM55804 | 2 | |
| 53 | 8722829 Ressort Usage: GEAR BOX GM45610,GM45710 GM55702,GM55602,GM45510 GM45612,GM45712,GM55704 GM55804 | 1 | |
| 54 | 8722837 Rondelle Usage: GEAR BOX GM45610,GM45710 GM55702,GM55602,GM45510 GM45612,GM45712,GM55704 GM55804 | 1 | |
| 55 | 9361627 Rondelle | 1 | |
| 56 | 9362542 Plaque | 1 | |
| 57 | 7965767 55557005 Contre-écrou Usage: 1986-1988 | WITHOUT AIR PREHEATER | 1 | |
| 57 | 8029555 8151227 Ecrou Usage: 1989-1989 | WITHOUT AIR PREHEATER | 1 | |
| 58 | 7967938 55562121 Vis Usage: 1986-1988 | WITHOUT AIR PREHEATER | 1 | |
| 58 | 8019978 7977499 Vis Usage: 1989-1989 | WITHOUT AIR PREHEATER | 1 | |
| 59 | 8029951 Rondelle Usage: 1989-1989 | WITHOUT AIR PREHEATER | 1 | |
| 60 | 8728396 8729345 Jauge Usage: 1989- | 1 | |
| 61 | 8728149 Couvercle Usage: 1989- | 1 | |
| 62 | 8109647 Joint torique Usage: 1989- | 1 | |
| 63 | 8726770 Raccord Usage: 1989- | 1 | |
| 64 | 8727737 Ressort Usage: 1989- | 1 | |
| 68 | 7496284 Etanchéité filetages Usage: 50 ML | X | |
| 69 | 90297970 Instajoint Usage: 50 ML | X | |
7496003 Kit joints | 1 |