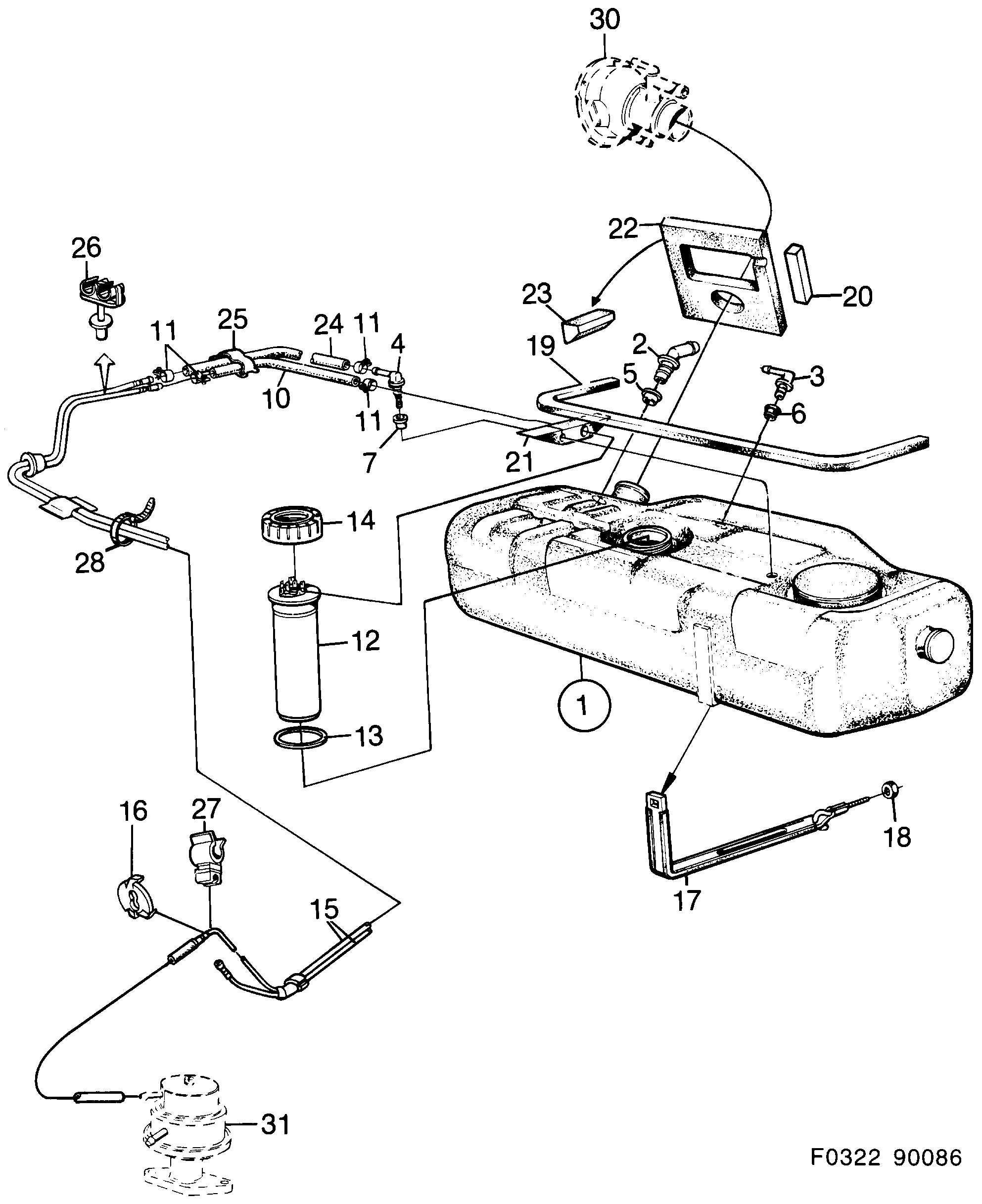
700: Moteur - Système de carburant - Réservoir d'essence - moteur à carburateur
(1986 - 1989)

| Pos. | Réf. | Qté | |
|---|---|---|---|
| 1 | 7510076 9392689 Réservoir Usage: -1986 | 1 | |
| 1 | 7534639 Réservoir Usage: 1986-1988 | 1 | |
| 1 | 8976458 Réservoir Usage: 1988- | 1 | |
| 2 | 9329491 Raccord | 1 | |
| 3 | 9328857 Raccord | 1 | |
| 4 | 9328873 Raccord Usage: -1988 | 1 | |
| 4 | 9378357 Raccord Usage: 1988- | 1 | |
| 5 | 9324021 Bague | 1 | |
| 6 | 8325656 Bague | 1 | |
| 7 | 8325656 Bague Usage: Pièce de 7510076, 7534639. | 1 | |
| 7 | 9324021 Bague | 1 | |
| 10 | 9363250 Flexible Usage: Fabriqué sur 93 62 781. | L=520 MM | 1 | |
| 11 | 7968308 Collier serrage | 4 | |
| 12 | 9361957 Transmetteur carburant | 1 | |
| 13 | 9368846 Joint Usage: -1986 | 1 | |
| 13 | 9392689 Joint Usage: 1986- | 1 | |
| 14 | 9393950 Ecrou | 1 | |
| 15 | 7534522 Conduite carburant Usage: -1988 | 1 | |
| 15 | 8976417 Conduite carburant Usage: 1988- | 1 | |
| 16 | 8328346 Support | 1 | |
| 17 | 9333600 Ruban serrage | 2 | |
| 18 | 8074288 11900440 Ecrou | 2 | |
| 19 | 9349929 Joint | 1 | |
| 20 | 8572752 Support | 2 | |
| 21 | 9329855 Joint | 2 | |
| 22 | 9349937 Joint | 1 | |
| 23 | 9334632 Joint | 1 | |
| 24 | 9363359 Flexible Usage: L=715 MM | 1 | |
| 25 | 9349945 Clip | 2 | |
| 26 | 7963895 Collier | 2 | |
| 27 | 7511256 Collier serrage | 1 | |
| 28 | 7971872 Ruban serrage | 2 | |
| 30 | Tube remplissage | ||
| 31 | Pompe carburant | ||
9362781 Flexible Usage: L=10M | X | ||
8817256 Flexible carburant | X |