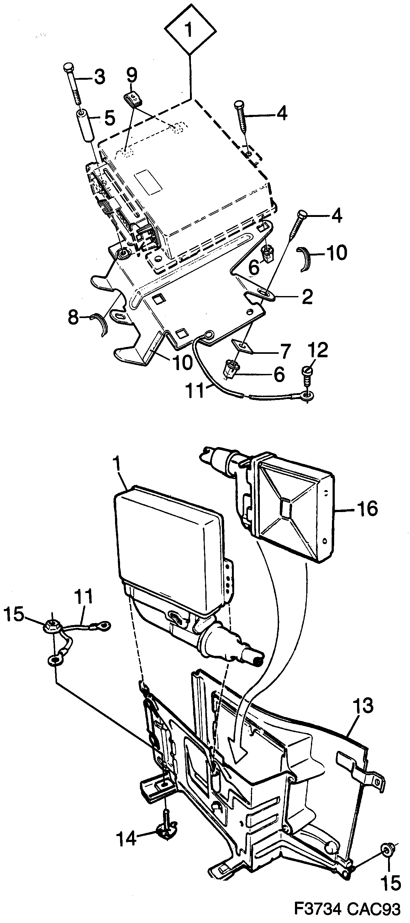
980: Engine - Fuel system - Bracket - Electronic unit
(1990 - 1993) | For 9000 (1991)

| Pos. | Part No. | Qty | |||
|---|---|---|---|---|---|
| 1 | 1 | ||||
| 1 | 1 | ||||
| 2 | 4023115 Bracket 1990-1991 | 1 | |||
| 3 | 8021743 Screw 1990-1991 | 1 | |||
| 4 | 7972672 Screw 1990-1991 | 5 | |||
| 5 | 9387895 Spacer sleeve 1990-1991 | 1 | |||
| 6 | 7975261 Nut 1990-1991 | 5 | |||
| 7 | 9389198 Stay pad 1990-1991 | 5 | |||
| 8 | 7591035 Protecting moulding 1990-1991 | 1 | |||
| 9 | 7399355 Clip 1990-1991 | 1 | |||
| 10 | 7535487 Protecting moulding 1990-1991 | 1 | |||
| 11 | 4175386 Ground cable 1991-1993 | LH | 1 | |||
| 11 | 1 | ||||
| 12 | 8286296 Screw 1991-1993 | 2 | |||
Sound absorber Not as separate spare part. | 1 | ||||
| 16 | 1 | ||||